Od czasu wprowadzenia 12-calowego MacBooka firma Apple musiała wielokrotnie wysłuchiwać narzekań na klawiaturę notebooka. W drodze od tradycyjnych klawiatur mechanicznych do możliwie ekstremalnych wersji, które wymagają pisania na ekranie dotykowym, pojawia się obecnie możliwa alternatywa.
MacBook Pro 2019

„Klawiatura optyczna”: inżynierowie Apple prezentują nowy typ klawiatury Mac
Tradycyjne klawiatury działają na prostej zasadzie: naciśnięcie klawisza zamyka styk elektryczny, który system operacyjny rozpoznaje i odpowiednio przetwarza. Chociaż sposób, w jaki patrzysz na szczegóły mechaniczne, może się znacznie różnić, ten prosty pomysł pozostaje.
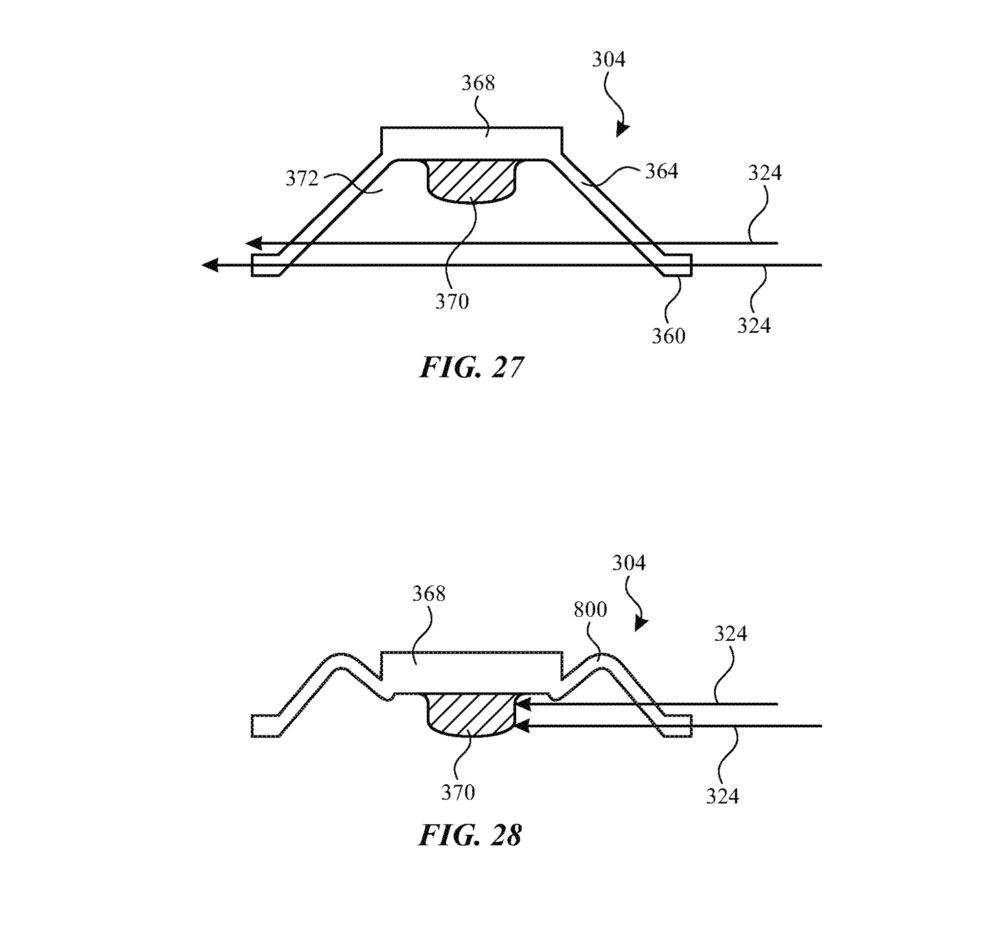
W aktualnym patencie (za pośrednictwem AppleInsider) zatytułowanym „Klawiatura optyczna”, który został przyznany Apple 27 sierpnia 2019 r., inżynierowie z Cupertino opisują alternatywne rozwiązanie rozpoznawania naciśnięcia klawisza. Zamiast na przykład wykonać połączenie elektryczne przez naciśnięcie litery, pod klawiszami nowego typu klawiatury znajdują się elementy, które emitują wiązkę światła i czujniki, które mogą tę wiązkę wykryć. W stanie normalnym światło dociera do czujnika - przycisk nie jest wciśnięty. Jeśli użytkownik zacznie pisać, dolne części klawiszy przerywają lub zmieniają wiązkę światła, co oznacza, że można rozpoznać, że został naciśnięty klawisz.

Apple opisuje w patencie różne kształty klawiszy. Niezbędne światło można było przesyłać nie tylko pod przyciskami, ale alternatywnie również przez mały otwór w mechanizmie. Tutaj również wiązka zostaje przerwana po naciśnięciu, co z kolei może być wykorzystane do wykrywania.
Tak mógłby wyglądać nowy 16-calowy MacBook Pro:

Klawiatura przyszłości MacBooka: jak dotąd tylko pomysł
Emitowane światło może również służyć drugiemu celowi: oświetleniu klawiatury. Odrębny system, który sprawia, że klawisze są lepiej widoczne w ciemności, może zostać w przyszłości pominięty.
Jednak pokazane przykłady „klawiatury optycznej” to na razie tylko marzenie o przyszłości. Apple cały czas zabezpiecza nowe pomysły w takich patentach. Nie oznacza to, że pokazane technologie faktycznie będą w tej formie znajdować się w rzeczywistych produktach.


















































