Tradycyjne słuchawki, w tym popularne AirPods i AirPods Pro, wykorzystują – w dużym uproszczeniu – małe głośniki, aby przekazać dźwięk z iPhone’a lub iPada do ucha użytkownika. W nowym dokumencie Apple opisuje, jak usunąć ograniczenia związane z tą technologią.
AirPods Pro

AirPods przyszłości: Apple opisuje wykorzystanie przewodnictwa kostnego
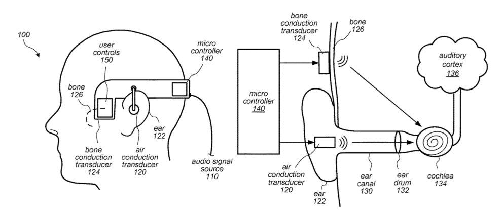
Obecne AirPods, czy to Pro, czy nie, są podłączane bezpośrednio do ucha jak wszystkie normalne słuchawki i przesyłają dźwięk do użytkownika za pomocą fal dźwiękowych. Jak opisują inżynierowie Apple w patencie odkrytym przez AppleInsider, producent iPhone'a może w przyszłości wykorzystać tak zwane przewodnictwo kostne. Ta technika jest znana w języku angielskim jako „przewodnictwo kostne”.
Zamiast fal dźwiękowych technologia ta wykorzystuje wibracje kości czaszki do przesyłania dźwięków. Ta technologia jest już stosowana w niektórych przypadkach, w których nie można użyć klasycznych słuchawek. Dzieje się tak na przykład, gdy użytkownik ma tylko ograniczony słuch. Co więcej, tego typu słuchawek z przewodnictwem kostnym można używać np. pod wodą. W tym samym czasie normalny przewód słuchowy może pozostać wolny, dzięki czemu użytkownik może normalnie słyszeć swoje otoczenie.
Jednym z problemów związanych z „przewodnictwem kostnym” jest jednak ograniczony zakres częstotliwości. Jeśli ludzie mogą normalnie słyszeć częstotliwości w zakresie od 20 do 20 000 Hz, przewodnictwo kostne może być skutecznie wykorzystywane tylko do 4000 Hz. Do tego dochodzi niezbędny kontakt z głowicą, co może być uciążliwe dla wielu użytkowników.

W patencie Apple inżynierowie opisują mieszankę klasycznej technologii, która wykorzystuje fale dźwiękowe i przewodnictwo kostne. Aby przeciwdziałać ograniczonemu zakresowi częstotliwości, system Apple’a dzieli sygnały na przykład na trzy obszary. Zakresy niskich i średnich częstotliwości są łączone i przekazywane przez kości. Natomiast do transmisji wysokich częstotliwości wykorzystywany jest klasyczny system wykorzystujący fale dźwiękowe – głośnik. Rysunki Apple sugerują, że te „słuchawki” nie zamykają kanału słuchowego.
Apple AirPods Pro na tle konkurencji:
Nie tylko dla AirPods: możliwe użycie z Apple Glass?
Taka technologia mogłaby nie tylko zostać zastosowana w przyszłych AirPodsach, ale byłaby też ciekawa w połączeniu z wielokrotnie plotkowanymi okularami AR – często nazywanymi Apple Glass. W przyszłości może się okazać, że kontakt opaski z głową będzie wystarczający do przesyłania powiadomień lub innych dźwięków do osoby noszącej – być może bez użycia tradycyjnych głośników.
Jak to zwykle bywa w przypadku takich patentów, niekoniecznie wskazują one przyszłe urządzenia, które faktycznie wykorzystują dokładnie opisane techniki. Apple złożył ten patent 25 maja 2018 r. Wcześniej jednak już w 2014 i 2015 roku pojawiły się oznaki, że kalifornijska firma prowadzi badania nad takimi technologiami.


















































